1. Início
  2. / Automotivo
  3. / BYD registra no Brasil modelo barato com autonomia total de 2.100 km e motor elétrico de até 217 cv; conheça o BYD Qin Plus
Tempo de leitura 6 min de leitura Comentários 0 comentários

BYD registra no Brasil modelo barato com autonomia total de 2.100 km e motor elétrico de até 217 cv; conheça o BYD Qin Plus

Escrito por Alisson Ficher
Publicado em 05/10/2025 às 01:38
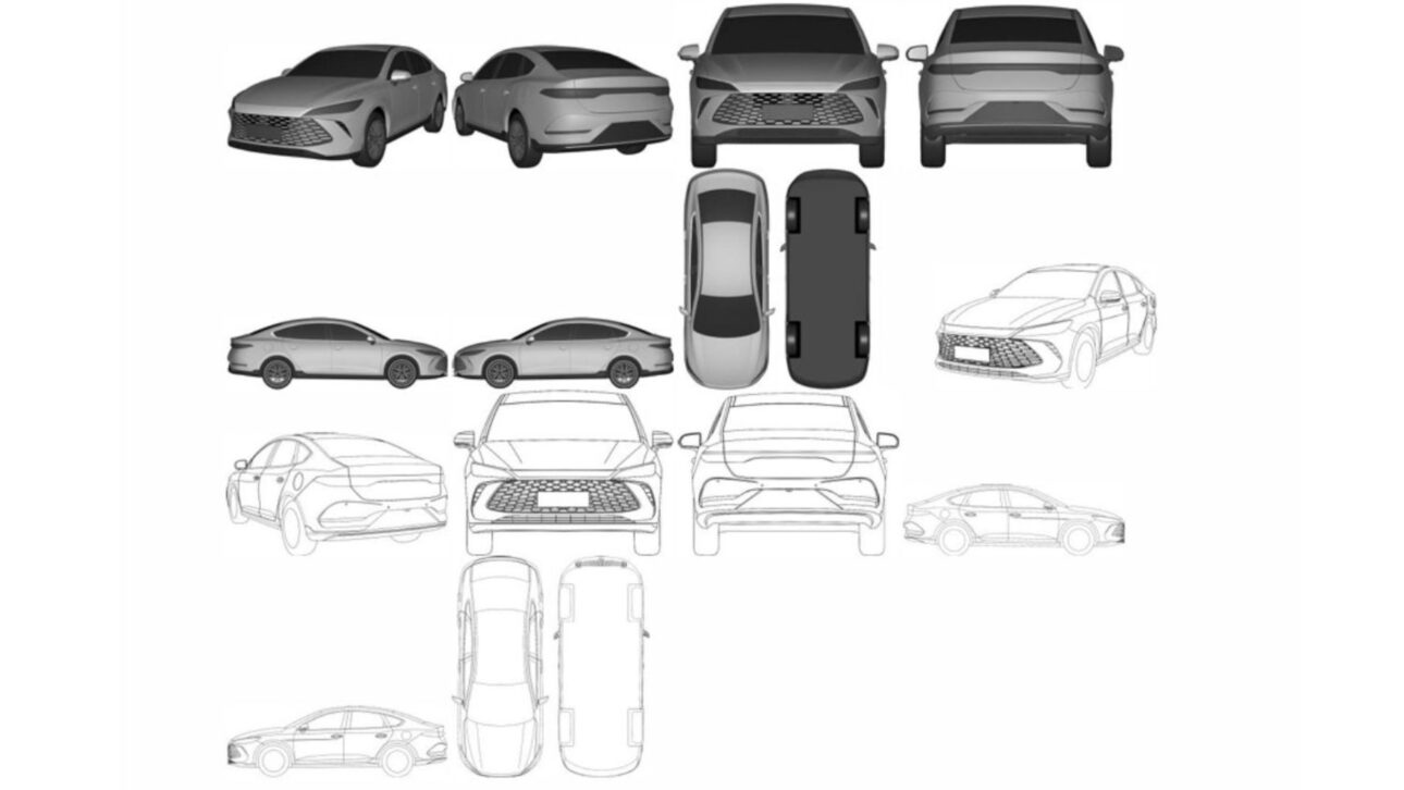
BYD Qin Plus chega ao Brasil registrado no INPI, sedã híbrido com até 2.100 km de autonomia e motor elétrico de 217 cv.
BYD Qin Plus chega ao Brasil registrado no INPI, sedã híbrido com até 2.100 km de autonomia e motor elétrico de 217 cv.
  • Reação
  • Reação
  • Reação
  • Reação
  • Reação
  • Reação
317 pessoas reagiram a isso.
Reagir ao artigo

Sedã híbrido da BYD foi registrado no Brasil com promessa de até 2.100 km de alcance total, motor elétrico de até 217 cv e preço abaixo do King, ampliando a estratégia da marca no segmento de médios eletrificados.

A BYD registrou no Instituto Nacional da Propriedade Industrial o sedã Qin Plus, movimento que abre caminho para a chegada de um modelo mais acessível do que o King e com promessa de autonomia combinada de até 2.100 km no ciclo chinês CLTC.

Posicionado para disputar espaço com Toyota Corolla e afins, o sedã utiliza o sistema híbrido plug-in da marca e, nas versões mais potentes, traz motor elétrico de até 217 cv.

Registro no INPI e posicionamento no mercado brasileiro

O depósito de desenho industrial no INPI é o procedimento padrão antes de um lançamento e não significa, por si só, início imediato das vendas.

Ainda assim, sinaliza a intenção da BYD de ampliar a família de sedãs no país com um produto abaixo do King em preço e conteúdo.

A estratégia conversa com a ofensiva da marca no Brasil, que vem ocupando faixas de mercado com portfólio híbrido e elétrico em diferentes tamanhos e faixas de valor.

Visual da linha Dynasty e pegada de sedã médio

No design, o Qin Plus segue a linguagem da família Dynasty.

A grade generosa domina a dianteira e recebe frisos que lembram escamas, enquanto os faróis afilados remetem ao tratamento visto no King.

BYD Qin Plus chega ao Brasil registrado no INPI, sedã híbrido com até 2.100 km de autonomia e motor elétrico de 217 cv.
BYD Qin Plus chega ao Brasil registrado no INPI, sedã híbrido com até 2.100 km de autonomia e motor elétrico de 217 cv.

Atrás, a lanterna em barra contínua reforça a assinatura luminosa, tendência consolidada no segmento.

O resultado é um três-volumes de pegada moderna, mas sem extravagâncias, alinhado ao gosto do público que migra de sedãs médios a combustão para soluções eletrificadas.

Dimensões: o que muda em relação ao King

Apesar da semelhança visual, o Qin Plus é ligeiramente menor que o irmão mais caro.

Medidas internacionais apontam 4,765 m de comprimento, 1,837 m de largura e 1,495 m de altura, com 2,718 m de entre-eixos.

Na prática, essas proporções o colocam no coração do segmento, com bom aproveitamento interno e porte adequado para o uso urbano.

Já o BYD King permanece um pouco maior em comprimento e entre-eixos, como refletem as especificações divulgadas para o mercado brasileiro, o que explica a hierarquia entre os dois na gama.

Cabine conhecida e foco em funcionalidade

Por dentro, o Qin Plus repete soluções familiares aos clientes da marca.

O painel de instrumentos digital concentra informações de consumo, fluxo de energia e assistência à condução.

BYD Qin Plus chega ao Brasil registrado no INPI, sedã híbrido com até 2.100 km de autonomia e motor elétrico de 217 cv.
BYD Qin Plus chega ao Brasil registrado no INPI, sedã híbrido com até 2.100 km de autonomia e motor elétrico de 217 cv.

No centro, a multimídia rotativa de 12,8 polegadas integra navegação e comandos do sistema híbrido.

O console central é minimalista, com poucos botões, seletor de marcha eletrônico e espaços de porta-objetos que priorizam uso cotidiano.

A lógica é reduzir distrações e deixar o foco na condução eficiente.

Trem de força: DM-i 5.0, autonomia e consumo

O Qin Plus utiliza a arquitetura híbrida da BYD conhecida como DM-i.

Nas versões ligadas à quinta geração do sistema, a marca declara consumo próximo de 2,9 l/100 km em medições chinesas e autonomia total de até 2.100 km com tanque cheio e bateria carregada, números obtidos em ciclo CLTC.

Em uso real, os valores podem variar conforme percurso, relevo e clima, mas ajudam a dimensionar a proposta de eficiência do conjunto.

A base mecânica combina um 1.5 aspirado de cerca de 100 cv e 12,8 kgfm com motores elétricos de potência variável.

BYD Qin Plus chega ao Brasil registrado no INPI, sedã híbrido com até 2.100 km de autonomia e motor elétrico de 217 cv.
BYD Qin Plus chega ao Brasil registrado no INPI, sedã híbrido com até 2.100 km de autonomia e motor elétrico de 217 cv.

Na configuração de entrada, o motor elétrico entrega 163 cv e 21,4 kgfm, associado a bateria por volta de 10 kWh, suficiente para cerca de 80 km no modo elétrico (CLTC).

Acima dela, há opção com 217 cv e 26,5 kgfm, bateria próxima de 16 kWh e até 120 km de alcance elétrico, ainda segundo o padrão chinês.

Em ambos os casos, a transmissão é do tipo e-CVT, e o gerenciamento de energia prioriza rodar no elétrico em trechos urbanos, acionando o motor a combustão sobretudo para sustentar carga e eficiência em velocidades maiores.

Comparativo prático com o BYD King

Enquanto o Qin Plus foca no preço e em versões com bateria menor, o BYD King vendido no Brasil aposta em acabamento e conteúdo superiores.

Ele também utiliza a tecnologia DM-i, porém com calibrações e pacotes voltados a um patamar mais alto de equipamentos.

Em termos de referência, a própria BYD divulga para o King autonomia combinada de até 1.200 km em condições controladas.

Na prática, o Qin Plus tende a atuar como porta de entrada à linha de sedãs híbridos plug-in da marca, dividindo a vitrine com o King e ampliando o leque frente a rivais híbridos convencionais.

YouTube Video

Linha do tempo: idas e vindas do nome Qin

O Qin Plus já foi descontinuado na China e, depois, ressuscitado pela BYD diante da demanda por sedãs híbridos de menor custo.

Em 2024, a marca estreou a tecnologia DM-i 5.0 no sedã Qin L, de porte maior, e gradualmente levou a atualização a outros modelos.

Em 2025, a família Qin ganhou nova geração em seu patamar mais acessível, mantendo o posicionamento de “irmão do King” e reforçando a estratégia de preços agressivos no mercado asiático.

E o que falta para chegar às lojas?

Com o registro no Brasil realizado, o passo seguinte depende da decisão comercial da BYD.

A marca vem estruturando produção local e expansão de rede, mas não há confirmação oficial de data de lançamento, versões, lista de equipamentos e preços do Qin Plus para o nosso mercado.

Caso chegue, a lógica indica posicionamento abaixo do King, mirando clientes que desejam um sedã mais racional em preço, mas sem abrir mão do alcance elétrico para o dia a dia e do custo por quilômetro típico dos híbridos plug-in.

BYD Qin Plus chega ao Brasil registrado no INPI, sedã híbrido com até 2.100 km de autonomia e motor elétrico de 217 cv.
BYD Qin Plus chega ao Brasil registrado no INPI, sedã híbrido com até 2.100 km de autonomia e motor elétrico de 217 cv.

O que observar quando ele desembarcar

Em eventual chegada às concessionárias, pontos de atenção serão a capacidade da bateria em cada versão, a autonomia elétrica certificada para o padrão brasileiro, a garantia aplicável ao conjunto híbrido e a integração de assistentes de condução.

Também merecem análise o espaço do porta-malas com o alojamento do pack de baterias e o custo de manutenção programada frente a concorrentes híbridos tradicionais.

Com essa combinação de preço mais baixo, promessa de até 2.100 km de alcance total e pacote híbrido moderno, o Qin Plus tem fôlego para cavar um lugar ao lado do King e encarar Corolla e companhia no Brasil, ou o consumidor local seguirá priorizando versões mais equipadas mesmo a um custo maior?

Banner quadrado em fundo preto com gradiente, destacando a frase “Acesse o CPG Click Petróleo e Gás com menos anúncios” em letras brancas e vermelhas. Abaixo, texto informativo: “App leve, notícias personalizadas, comentários, currículos e muito mais”. No rodapé, ícones da Google Play e App Store indicam a disponibilidade do aplicativo.
Inscreva-se
Notificar de
guest
0 Comentários
Mais recente
Mais antigos Mais votado
Feedbacks
Visualizar todos comentários
Alisson Ficher

Jornalista formado desde 2017 e atuante na área desde 2015, com seis anos de experiência em revista impressa, passagens por canais de TV aberta e mais de 12 mil publicações online. Especialista em política, empregos, economia, cursos, entre outros temas e também editor do portal CPG. Registro profissional: 0087134/SP. Se você tiver alguma dúvida, quiser reportar um erro ou sugerir uma pauta sobre os temas tratados no site, entre em contato pelo e-mail: alisson.hficher@outlook.com. Não aceitamos currículos!

Compartilhar em aplicativos
0
Adoraríamos sua opnião sobre esse assunto, comente!x